
鞏義市仁源水處理材料廠
聯系人:孫經理
手機:15838253283(微信同號)
電話:0371-66557686
郵箱:1813885391@qq.com
地址:河南省鞏義市工業園區
2022年陰離子聚丙烯酰胺HPAM生產廠家污水生化處理技術及其方法
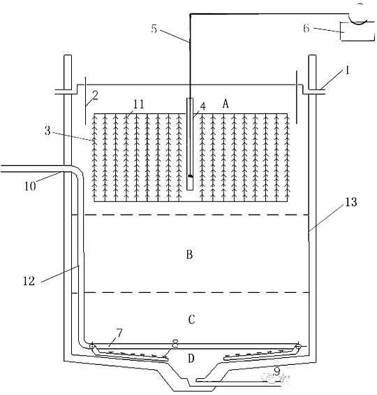
2022年陰離子聚丙烯酰胺HPAM廠家污水生化處理技術及其方法。本發明涉及一種污水生化處理裝置,包括供氣管、生化池體、設在生化池體上的出水口和污水進口,生化池體內底部形成一個倒錐形污泥分選旋流集泥坑,集泥坑中心設有排泥口,集泥坑上方分布有與污水進口連接的水平布水管和切向射水頭,污水進口設在水平布水管和切向射水頭的上方,生化池體上方的豎直方向設有至少一根升液管,供氣管的出氣端伸入升液管的下方,其進氣端探出生化池體外;生化池體自上而下分為好氧區、缺氧區、厭氧區,所述出水口設在好氧區的上方,生化池體內靠近出水口處設有擋板,擋板的頂部高于池體上的出水口。本發明還涉及采用該處理裝置的處理方法,采用本發明具有工藝簡單、成本低、且能夠節約能耗的特點。

1.一種污水生化處理裝置,包括供氣管、生化池體、設在生化池體上的出水口和污水進口,生化池體內底部形成一個倒錐形污泥分選旋流集泥坑,集泥坑中心設有排泥口,集泥坑上方分布有與污水進口連接的水平布水管和切向射水頭,
其特征在于所述污水進口設在水平布水管和切向射水頭的上方,生化池體上方的豎直方向設有至少一根升液管,供氣管的出氣端伸入升液管的下方,其進氣端探出生化池體外;
生化池體自上而下分為好氧區、缺氧區、厭氧區,所述出水口設在好氧區的上方,生化池體內靠近出水口處設有擋板,擋板與池壁平行且沿生化池體的四周延伸,擋板的頂部高于池體上的出水口。
2.根據權利要求1所述的污水生化處理裝置,其特征在于所述升液管的管間距為3m,升液管橫截面積與生化池體的橫截面積比為1:36,升液管的高度與生化池體的高度比為3:8。
3.根據權利要求1或2所述的污水生化處理裝置,其特征在于所述好氧區設有填料架,填料架的高度占生化池體高度的1/2。
4.根據權利要求1所述的污水生化處理裝置,其特征在于所述供氣管的進氣端與風機連接。
5.上述任一權利要求所述的污水生化處理裝置的處理方法,其特征在于包括如下步驟:
(1)污水從污水進口進入水平布水管后在沖力的作用下從切向射水頭射出,帶動倒錐面池底污泥作水平旋流運動,并向集泥坑中心集中,比重大的老齡污泥較新生污泥集中的快,以實現對污泥的微觀分選排放;
(2)生化池體自上而下分段為好氧區、缺氧區、厭氧區,污水從厭氧區上升至缺氧區,再由缺氧區進入好氧區后與供氣管出氣端的壓縮空氣混合后沿升液管往上流動;
(3)從升液管頂部出來的一部分水回流,在好氧區進行垂直循環,一部分水經擋板阻擋后污水中的污泥沿池壁滑落到池底,清水沿池壁緩慢上升經池壁與擋板形成的虛擬沉淀池后自池體上部的出水口流出。
6.根據權利要求5所述的處理方法,其特征在于所述供氣管的供氣量為41-42m3/小時。
技術領域
本發明屬于污水處理領域,具體涉及一種污水生化處理裝置及其處理方法。
背景技術
近年來,我國城鎮污水處理率不斷提高,但是由氮磷污染引起的水體富營養化問題不僅沒有得到解決,而且有日益嚴重的趨勢。因此水體富營養化問題的加劇對氮、磷的去除提出了嚴格的要求,可見,污水處理的主要矛盾已由有機污染物的去除轉變為氮、磷污染物的去除。我國對城鎮污水處理廠的出水標準越來越高,特別提高了氮磷的標準,因此許多已建的城鎮污水處理廠需要升級改造,增加設施去除污水中的氮、磷污染物,以達到國家規定的排放標準,新建的污水處理廠則須按照新標準進行建設。對于脫氮除磷工藝,今后的發展要求不僅僅局限于較高的氮磷去除率,而且要求處理效果穩定、可靠、工藝控制調節靈活、投資運行費用節省。目前,生物脫氮除磷工藝正向著這一簡潔、高效、經濟的方向發展。
我國目前絕大部分地區的污水治理體系還沒有區域化或綜合化,各污染源處于分散治理狀態,傳統的活性污泥法等連續流生化處理工藝在處理水量較小、變幅大的污水時難以正常穩定運行,因此,發展高效、低耗、占地少的水處理工藝一直是廢水處理領域的重要課題。生物一體化反應器技術因其自身優勢以及近年來微生物固定化技術的日趨成熟而受到學術界得越來越多的關注,并已成功應用于多種廢水的處理。與傳統的廢水處理工藝相比,這種新型反應器技術可減少工藝設備,降低工程造價,節約運行成本,減少占地面積,已引起政府和科技人員的高度重視。
目前垂直分段一體化生物處理工藝研究很少,現有的污水生化處理方法及裝置多為在空間的水平分段,最主要的有傳統活性污泥法及其變形:A-O法、A-A-O法、A-B法、各種氧化溝等外加二沉池出水;SBR法為時間分段,不同的時間反應池起到不同的作用;MSBR法為空間的分評分段和時間分段的混合,以改善時間分段的缺點,最后出水都離不開二沉池,即等待污泥沉降下去以后將上清液排出,往往因污泥沉降速度慢,而使二沉池的處理能力偏低,處理時間一般占整個水處理周期的二分之一。
垂直分段一體化生物處理工藝以其污水處理時間短、節約用地、減少能耗、降低造價,同時保證高質量連續出水而被采用。
孫復華發明了一套垂直分段一體化污水生化處理方法及相應的裝置。該裝置的底部形成一個倒錐形污泥分選旋流集泥坑,集泥坑中心有排泥口,生化池體上部設置有至少一個疊片滑濾出水井,曝氣平面使生化池分段為厭氧、好氧、缺氧區,并形成垂直內循環,污水從曝氣頭和曝氣管網下面厭氧污泥區域升至上面三相流好氧上升區域進行好氧曝氣,又經環形阻擋漂浮物的裙板和虛擬的二次沉淀池的二相流靜沉出水區進入疊片滑濾出水井或疊片滑濾出水堰,自井中心下部的出水口排出。
污水由底部水平切向射水使池底的倒錐面起旋流器的作用對污泥進行微觀的分選,分選所需的水平旋轉的動力來自于進水的功能,必要時,需加水下機械攪拌推進器,通常情況下,單靠進水的功能提供分選所需的水平旋轉的動力是不夠的,需要加水下機械攪拌推進器才能夠保證水平旋轉的動力;另外該工藝所采用的裝置既設置了二次沉淀池,還設有環形阻擋漂浮物的裙板以及至少一個疊片滑濾出水井或疊片滑濾出水堰等,該裝置造價較為昂貴、運行管理也較為復雜,直接制約了垂直分段一體化污水生化處理裝置在污水處理領域中的廣泛應用。
發明內容
本發明在于提供一種工藝簡單、成本低、且能夠節約能耗的污水生化處理裝置及其處理方法。
本發明的具體技術方案如下:
一種污水生化處理裝置,包括供氣管、生化池體、設在生化池體上的出水口和污水進口,生化池體內底部形成一個倒錐形污泥分選旋流集泥坑,集泥坑中心設有排泥口,集泥坑上方分布有與污水進口連接的水平布水管和切向射水頭,所述污水進口設在水平布水管和切向射水頭的上方,生化池體上方的豎直方向設有至少一根升液管,供氣管的出氣端伸入升液管的下方,其進氣端探出生化池體外;生化池體自上而下分為好氧區、缺氧區、厭氧區,所述出水口設在好氧區的上方,生化池體內靠近出水口處設有擋板,擋板與池壁平行且沿生化池體的四周延伸,擋板的頂部高于池體上的出水口。
本發明中升液管的管間距、其高度以及截面大小可根據需要進行設定,優選的,所述升液管的管間距為3m,升液管橫截面積與生化池體的橫截面積比為1:36,升液管的高度與生化池體的高度比為3:8。本發明中升液管的高度可根據污水的特點進行選擇,當升液管的高度大時,可以插入生化池體較深處,此時處理COD能力強,當升液管的高度較小時,可以插入生化池體較淺處,此時處理NH4+能力強。
所述好氧區設有填料架,填料架的高度占生化池體高度的1/2。填料架上設有填料作為好氧生物載體,所述填料的材質為聚丙烯。采用優質的聚丙烯材料,長時間浸泡在廢水不會降解,也不會對微生物有毒害作用;填料設于填料架上且懸浮在水中,對污水水質和水量的變動具有較好的適應能力;更換方便,使用壽命長。
所述供氣管的進氣端與風機連接。
本發明還涉及采用上述污水生化處理裝置的處理方法,包括如下步驟:
(1)污水從污水進口進入水平布水管后在沖力的作用下從切向射水頭射出,帶動倒錐面池底污泥作水平旋流運動,并向集泥坑中心集中,比重大的老齡污泥較新生污泥集中的快,以實現對污泥的微觀分選排放;
(2)生化池體自上而下分段為好氧區、缺氧區、厭氧區,污水從厭氧區上升至缺氧區,再由缺氧區進入好氧區后與供氣管出氣端的壓縮空氣混合后沿升液管往上流動;
(3)從升液管頂部出來的一部分水回流,在好氧區進行垂直循環,一部分水經擋板阻擋后污水中的污泥沿池壁滑落到池底,清水沿池壁緩慢上升經池壁與擋板形成的虛擬沉淀池后自池體上部的出水口流出。
上述供氣管的供氣量優選為41-42m3/小時。
本發明將待處理的污水由底部水平布水管和切向射水頭水平切向射水使池底的倒錐面起旋流器的作用對污泥進行微觀的分選,本發明將污水進口設置成高于水平布水管和切向射水頭,利用污水的沖擊作用使水從切向射水頭射出,在不需要水下機械攪拌推進器的情況下為污泥進行微觀的分選提供足夠的水平旋轉的動力,使進入的污水與污泥充分混合,防止污泥沉降,節約了能源,降低了成本。
本發明采用向升液管通入壓縮空氣代替傳統的曝氣平面的曝氣方式,將壓縮空氣引入到升液管中,由于含空氣的水比重較小,促使污水與氣體一起沿升液管往上流動,同時空氣中的氧轉移到污水中。升液管外的水流方向垂直向下,利用水的垂直循環將富氧水送到水下。在水往下流的同時,填料中的活性污泥呼吸消耗氧,進而在生化池體內形成氧濃度逐漸減小的氧濃度梯度,在某一深度,氧濃度等于零,這個過程實現了硝化與反硝化生化反應。此種曝氣方式可以減小氣泡尺寸,增大表面積,使氧向液體中的轉移效率大大增強,由于氧濃度提高,加大了氧在污泥絮體顆粒內的滲透深度,使絮體中好氧微生物所占比例增大,污泥活性保持在較高水平上,因而凈化功能良好,也不會發生由于缺氧而引起的絲狀菌污泥膨脹,泥粒較結實,污泥濃度大大提高;硝化菌的生長也不會受到溶解氧不足的限制,有利于生物脫氮過程,從而達到強化脫氮的目的。
本發明同現有技術相比,具有如下優點:
(1)本發明利用廢水的垂直循環與填料配合,在垂直方向形成氧濃度梯度,有利于生物脫氮,從而達到強化脫氮的目的;減少能耗,提高氧利用效率;
(2)將污水進口設置成高于水平布水管和切向射水頭,利用污水的沖擊作用使水從切向射水頭射出,為污泥進行微觀的分選提供足夠的水平旋轉的動力,無需采用水下機械攪拌推進器,節約了能源,降低了成本;
(3)本發明結構簡單、成本低,將供氣管直接伸入升液管中,維修時只需取出供氣管即可,無需進入池體內,維修方便;另外通過設置擋板,避免富氧水對污泥沉降的攪動,采用擋板與池壁形成的虛擬沉淀池完成污泥的沉降作用,結構簡單,成本低,適宜在污水處理領域中大規模應用;
(4)本發明可以通過控制升液管的高度對不同類型的污水進行有針對性的處理;如果污水中COD濃度高,則升液管的深度深一些(升液管的高度相對較大);如果污水中NH4+濃度高,則升液管的深度淺一些(升液管的高度相對較小),實現一物多用,滿足不同污水處理的要求。
2022年陰離子聚丙烯酰胺HPAM廠家詳情點擊:http://m.683996.com/